Toggle navigation
Home
Azienda
Competenze
Prodotti
Area tecnica
Dove siamo
Contatti
Fast News
Contropunte & trascinatori »
Attrezzature speciali »
Strumenti di misura »
Lavorazioni di precisione
conto terzi »
Prodotti
Strumenti di misura
Calibri
DM - Calibro a corsoio per misure cave interne
Contropunte & trascinatori
Tornitura
Contropunte rotanti - carichi medi
CN1
CN2
CN3
CN4
CN5
CN6
CNC4
CNB3
CNB4
CNB5
CNE4
CNE5
CNE6
Contropunte rotanti - carichi elevati
CSF3
CSF4
CSF5
CSF6
CSF/CM80
CSF/CM90
CSF/CM100
Contropunte con carico assiale variabile
CM3
CM4
D25 - D32
Trascinatori frontali
Type T/A
Type T/B
Type T/OC
Type T/E
Type T/C
Per tubi
Type T/E Special
Cassette complete
CN/R - CSF/R
CN4/R
Rettifica
Contropunte rotanti
CSF3
CSF4
CSF5
CSF6
Trascinatori frontali per rettifica
Contropunte rotanti ad alta velocità
WK2 - WK12
WK2 - WK12 con ghiera
WK3 - WK13
WK3 - WK13 con ghiera
WK4 - WK14
WK4 - WK14 con ghiera
WK5 - WK15
WK5 - WK15 con ghiera
WK6
WK24
WK44
Brida pneumomeccanica
Dati tecnici
Contropunte fisse
100% acciaio
Con inserto in Widia
Con ghiera di estrazione
Cuspidi intercambiabili
Ad altissima resistenza
Testa in metallo duro
Bussole di riduzione
Dentatura
Trascinatori per dentatrici - testine
TD/6 normale
TD/6 prolungata
TD/3
Trascinatori per dentatrici - attacchi
Esempio di utilizzo
Trascinatori per dentatrici - anelli
Esempio di utilizzo
Contropunte rotanti ad alta precisione
Punte Compatte
Attrezzature speciali
Supporto contropunta
Dati tecnici
Mandrini ad espansione ed anelli di controllo
Dati tecnici
Strumenti di controllo
Testing 2000
Attrezzature speciali su richiesta
Strumenti di misura
Calibri
DB - Calibro a comparazione interno/esterno
P - Calibro a comparazione con precarica
DP - calibro a comparazione con precarica
DPP - Calibro a comparazione con precarica
BP - Calibro a comparazione con precarica
BDP - calibro a comparazione con precarica
AP - calibro a forcella
MI - Micrometro
MT - Strumento digitale per misurazione di diametri e gole interne
DU I/E - calibro a corsoio per gole interne/esterne
DUP I/E - Calibro a corsoio con precarica per gole interne/esterne
DE R/L B - Calibro a corsoio per profondità
DL B - Calibro a corsoio per profondità
D R/L B - Calibro a corsoio per profondità
DR - calibro a corsoio per profondità a ponte mobile
DL R/L BRIDGE - Calibro a corsoio per profondità
DD - Calibro digitale di profondità con puntalino intercambiabile
DPO - Calibro digitale per interassi e sezioni su piani diversi
DAD - Calibro digitale per dentature
DA - Calibro digitale per chiavette interne
DEC - Calibro in carbonio a corsoio per profondità
DEE - Calibro in carbonio a corsoio per profondità
DF - Calibro a corsoio di profondità per piccoli fori
DM - Calibro a corsoio per misure cave interne
DR - Calibro a corsoio per misure coniche
DRE - Calibro a corsoio digitale per misure di gole e canalini
RAP OLF ABC - Calibri tascabili
IR E / IR I- strumento digitale per misurazioni esterne/interne
IRS / IRSE - strumento digitale per misurazioni interne/esterne di Seeger
Strumento digitale per misurazioni interne di fori IR P e di filettature IR FI, per misurazioni esterne di filettature IR FE
Centratore chiavette digitali DG
Grandi Calibri
DF IP67 - Calibro a corsoio misure interne/esterne con doppio carrello
DF BL IP67 - Calibro a corsoio a becche lunghe
DP BD - Calibro a corsoio con becche superiori
ER IP67 - Calibro a corsoio in fibra di carbonio
ERH IP67 - Calibro a corsoio in fibra di carbonio, becche in acciaio
EL IP67 - Calibro a doppio corsoio mobile in fibra di carbonio
ELH IP67 - Calibro a doppio corsoio mobile in fibra di carbonio
ZDF - Calibro a corsoio in fibra di carbonio
Accessori per ZDF
DNP - Calibro in fibra di carbonio per gole profonde con precarica interno/esterno
CC - Calibro multifunzione a doppio corsoio mobile
Righe di controllo
UR - Strumento per taratura di alesametri
OR - Impacchettatore per blocchetti
Strumenti di controllo
SM, banco di controllo concentricità
SM DS, banco di controllo concentricità
BA, banco di controllo tra due punte
PU, tavola di controllo
VPU - Strumento per controllo perpendicolarità canali ingranaggi a due assi (X e Z)
CP, banco di controllo fra le punte
Strumenti per ingranaggi
RC, banco di controllo eccentricità e misura cordale
VRC, banco di controllo eccentricità e misura cordale ingranaggi su alberi
Terminali intercambiabili
Terminali intercambiabili per calibri DB, AP, DU
DM - Calibro a corsoio per misure cave interne
MODELLO »
Ordina o richiedi maggiori informazioni »
×
Compila il form
Nome e cognome
*
Azienda
*
Telefono
*
E-mail
*
Prodotto di interesse
*
Richiesta
Scrivi i numeri che vedi nell'immagine
Informativa sulla Privacy
*
Accetto
*
I campi contrassegnati sono obbligatori.
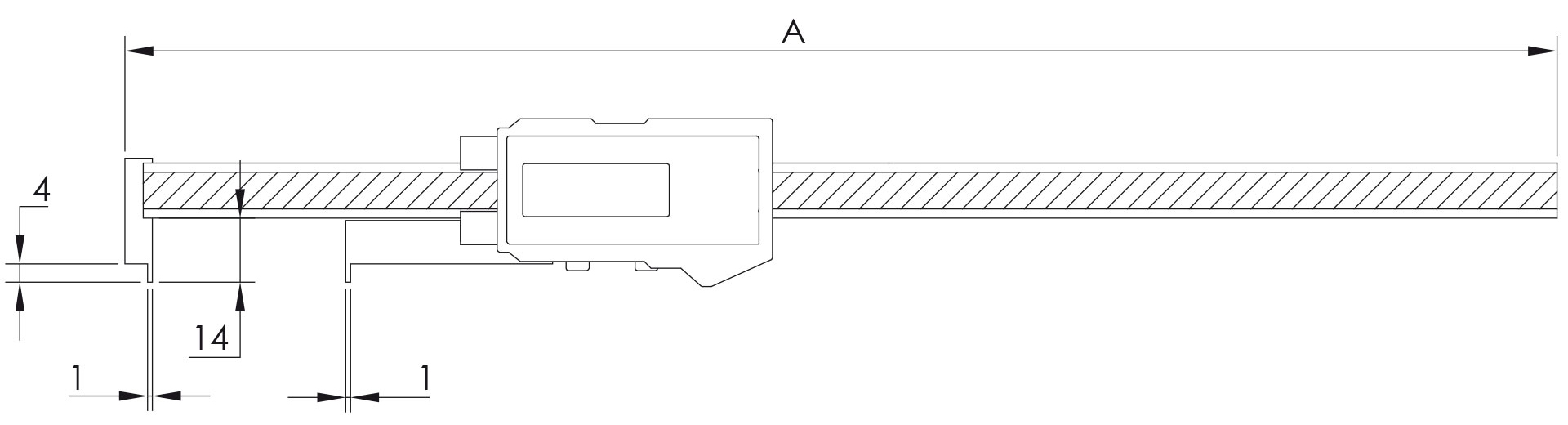
Calibro a corsoio per misure cave interne con becchi corti
In acciaio inox temprato
Elettronica IP67 mm/inc - connessione proximity/usb
Bloccaggio a vite
Confezione: scatola in legno
Azienda
Servizi
Tecnologie produttive
Lavorazione conto terzi
Fast News
AREA TECNICA E UTILITY
Area riservata »
Area download »
Informazioni tecniche »
Video »
Glossario tecnico »